Первые автомобили Volga появятся в продаже в России в 2026 году
В Нижнем Новгороде во II квартале 2026 года стартует производство автомобилей Volga. Об этом сообщила компания «Производство легковых автомобилей», реализующая проект.
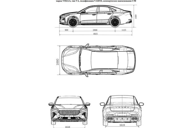
«Портфолио бренда Volga будет представлено на старте тремя моделями в востребованных сегментах D-SUV, C-SUV и D-седан, которые будут производиться на заводе в Нижнем Новгороде, где ранее выпускались автомобили европейских марок Skoda и Volkswagen», — цитирует сообщение Газета.RU.

© Volga
Серийное производство машин начнется во втором квартале года, а продажи в салонах официальных дилеров — в третьем.

© РОССТАНДАРТ

Комментарии читателей Оставить комментарий
В том и дело, что не могут. Все на трубы ! Потеряна инженерная школа создававшаяся десятилетиями. Если бы это было просто, то производили бы хотя бы галоши, но и этого не могут. Только нефть, газ, лес , воду за бугор. Станочное оборудование в котлованы и на переплавку, а цеха в аренду малому бизнесу сушеной селедке Хакамаде. Она теперь блог ведет, а просто наладить производство своих автомобилей некому и не начем.
Демократические свитера систематически задают вопрос " И где он ваш СССР ? " Да вот он ! Не способны создать собственный автомобиль, так хоть сопрем название из бывшего СССР. " Москвич ", теперь " Волга " и приклеем на китайца.
не надо изобретать автомобиль. Уже всё давно изобретено. Надо просто наладить производство своих автомобилей.
- это звучит так, как если бы это производство соревновалось с ещё какаим-то.
Сейчас у нас всё "стартует". Вы не услышите обычных русских слов с этим значением.
народ быстро найдет "китайского близнеца" в ценой в 2 раза дешевле